
EHA (Electro-Hydrostatic Servo System) — Product Photo






EHA — Electro-Hydrostatic Actuator
The Electro-Hydrostatic Actuator (EHA) is a highly integrated intelligent hydraulic drive system that combines motor technology, hydraulic transmission, and servo control. It represents an important trend in the development of high-performance and intelligent hydraulic solutions. Its core advantage lies in using a servo motor to directly drive the hydraulic pump, enabling precise control of actuator displacement, velocity, and force.
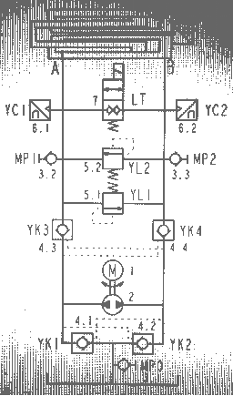
1. Structure & Working Principle
1.Servo Motor: Power source, precisely adjusts speed and direction.
2. Bidirectional Fixed Pump: Converts motor rotation into hydraulic flow.
3. Hydraulic Actuator: Receives fluid from the pump to generate mechanical motion.
4. Valve Group (optional): Can integrate safety and replenishment valves.
5. Sensors: Detect position, pressure, and force signals.
6. Controller: Adjusts motor operation in real time based on commands and feedback.
Working Principle: The controller compares target commands with sensor feedback, continuously adjusting motor speed, torque, and direction to control pump flow and direction, thereby achieving accurate actuator control.
2. Key Features
1. High Efficiency: Volumetric speed control without throttling losses; significantly improved energy utilization; very low standby consumption.
2. Compact Design: Eliminates external hydraulic stations and complex piping, simplifying installation.
3. High Reliability: Closed system with fewer leakage points and strong resistance to contamination.
4. High Precision Control: Direct servo drive provides fast response and precise position, velocity, and force control.
5. Low Noise & Easy Maintenance: Quiet operation with modular design for easy diagnostics and servicing.
3. Typical Applications
1. Aerospace: Control surfaces and landing gear actuation.
2.Industrial Automation: Precision machine tools, injection molding machines, robotic joints.
3.Testing Equipment: Fatigue test rigs, material testing systems.
4. Renewable Energy: Wind turbine pitch systems, solar tracking systems.
4. Application Example
FAST (China Sky Eye): The 500-meter Aperture Spherical Radio Telescope is equipped with 2,225 Uranus-developed EHA actuators for reflector adjustment and focusing. Since actuators are positioned differently, each requires independent force, speed, and displacement control. However, strict synchronization is essential to instantly reshape the reflector into an ideal parabolic surface. The system offers rapid response, millimeter-level accuracy, long-term stability, overload protection, fault tolerance, and strong resistance to electromagnetic interference—ensuring FAST’s high sensitivity and reliable long-term operation.
Uranus EHA actuators are composed of a stepper motor, bidirectional gear pump, servo hydraulic cylinder, sensors, valve group, and microcontroller, achieving precise closed-loop control. Installed in 2013, they remain in stable operation to this day

Electromagnetic Interference (EMI) Performance Testing of EHA Actuators

Photo of the 500-meter-diameter radio telescope at the National Astronomical Observatory of China

Uranus EHA hydraulic actuators installed beneath the radio telescope at the National Astronomical Observatory of China

Renowned physicist and Nobel Prize laureate Yang Zhenning visiting the FAST project (China Sky Eye)
1.Electro-Hydrostatic Actuator Push Rod
Cylinder Specifications:
Bore: 80mm | Rod Diameter: 45mm | Stroke: 170mm
Working Pressure: 4MPa | Test Pressure: 30MPa
Fluid: L-HV32
Power Unit Specifications:
Working Pressure: 4MPa | Pump Displacement: 1.6cc/rev
Fluid: L-HV32 | Tank Volume: 0.31L

2. EHA Direct-Drive Electro-Hydraulic Actuator
EHA Direct-Drive Electro-Hydraulic Actuator
Cylinder Specifications:
Bore: 70mm | Rod Diameter: 56mm | Piston Rod Inner Diameter: 42mm
Stroke: 200mm | Working Pressure: 7.5MPa | Test Pressure: 12MPa
Rated Thrust: 10kN
Power Unit Specifications:
Working Pressure: 7.5MPa | Pump Displacement: 7cc/rev
Fluid: Hydraulic Oil | Tank Volume: 1.3L


3. EHA Single-Rod Constant-Speed Digital Hydraulic Cylinder
Cylinder Specifications:
Bore: 70mm | Rod Diameter: 56mm | Piston Rod Inner Diameter: 42mm
Stroke: 1000mm | Working Pressure: 5MPa | Test Pressure: 10MPa
Rated Thrust: 6.8kN
Power Unit Specifications:
Working Pressure: 5MPa | Pump Displacement: 7cc/rev
Fluid: Hydraulic Oil | Tank Volume: 0L | Motor Power: 300W

